激情黄色一级片I美女网站一区Iav成年人电影I国产色视频一区I丁香婷婷电影I久久艹国产视频

     
氣體渦輪流量計
液體渦輪流量計
氣體腰輪(羅茨)流量計
渦街流量計
電磁流量計
旋進旋渦氣體流量計
流量計配件
音速噴嘴標定裝置
上微機軟件
 
天津市海蘇儀表有限公司
電話:022-87726162
手機:13116062622  
聯系人:閆曉路
QQ:506009204
傳真:022-87726161
郵編:300110
郵箱:tjhaisu@126.com
網址:http://m.yuanduyuan.com.cn
地址:天津市北辰區鐵東北路藍海汽配城二期G區7號
 
產品展示  
 

產品名稱:LWQ系列氣體智能渦輪流量計

一、概述

LWQ系列氣體智能渦輪流量計是我公司按照GB/T32201-2015標準并結合國內外流量儀表技術而研制開發的集溫度、壓力、流量傳感器和智能流量積算儀于一體的新一代高精度、高可靠性的精密計量儀表,低壓和高壓計量性能,多種信號輸出方式以及對流體擾動的低敏感性,使得LWQ系列流量計成為一種能準確計量氣體累積量的商業貿易計量儀表。

該流量計廣泛應用于:城市管線(網)燃氣的計量、工業燃氣的計量、燃氣調壓站的計量、能源管理以及其它各種無腐蝕性氣體的計量或流量控制等場合。

該產品經國家防爆產品質檢部門按GB3836-2000《爆炸性氣體環境用電氣設備第1部:

通用要求》,GB3836.2-2000《爆炸性氣體環境用電氣設備第2部分:隔爆型“d”》和GB3836.4-2000《爆炸性氣體環境用電氣設備第4部分:本質安全型“i”》標準檢驗合格,防爆標志為ExdIICT6Gb(隔爆型),ExdIIBT4, ExiaIICT4,(本安型)。適用于含IIA,IIB,IIC 類T1~T2溫度組別爆炸性氣體混合物的0(僅本安型)1.2區危險場所。

二、主要特點

滿足GB/T32201-2015標準的技術要求可檢測被測氣體的溫度、壓力和流量,能進行流量自動跟蹤補償和壓縮因子修正,并顯示標準狀態下(Pb=101.325KPa,Tb=293.15K)的氣體體積累積量;

流量范圍寬(Qmin/Qmax=20:1),重復性好,精度高(可達1.0級),壓力損失小,起始流量低;

具有八段儀表系數設定及自動修正的功能;

采用專用一體化整流器,對流量計的前后直管段安裝要求低(前為≥2DN ,下游無要求);

內置式壓力、溫度傳感器,安全性能高、結構緊湊、外形美觀;

對壓力、溫度傳感器的故障能自行診斷,并直接顯示在LCD屏上;

一節鋰電池可連續使用五年以上,并具有電池欠壓兩級報警輸出功能,更適合與IC卡管理系統的配套使用;

智能流量積算儀可以任意角度定位(轉動角度為350°),使流量計在各種安裝條件下的讀數更方便,更直接;

特有時間顯示及實時數據存儲之功能,無論什么情況,都能保證內部數據不會丟失,可永久性保存;

儀表就具有RS-485通訊接口功能,并配備功能強大,界面豐富的數據管理軟件系統,可打印各自動生成的圖表;

儀表具有防爆及防護功能,防爆標志為ExdⅡBT6Gb,防護等級IP65

根據用戶要求,可提供壓力,溫度定值設置之功能,特別適用于介力,溫度相對穩定的場合

三、流量計的型號規格及基本參數(表1)

型號

公稱通徑

DN( mm )

始動流量

( m3/h )

流量范圍

( m3/h )

壓力等級

(MPa)

殼體

材質

準確度

(級)

LWQ-25

DN25(R1)

≤0.8

2.5~25

   1.6

   2.5

    4.0

不銹鋼

鋁合金

精度1.0級時,允許誤差為:

Qmin~0.2Qmax:±2%

0.2Qmax~Qmax:±1%

精度1.5級時,允許誤差為:

Qmin~0.2Qmax:±3.0%

0.2Qmax~Qmax:±1.5%

DN25(R2)

≤1.3

5~50

LWQ-32

DN32(R1)

≤1.3

4~40

不銹鋼

DN32(R2)

≤1.5

6~60

LWQ-40

DN40(R1)

≤1.1

5~50

DN40(R2)

≤1.5

6~60

LWQ-50

DN50(R1)

≤1.5

6~65

不銹鋼

鋁合金

DN50(R2)

≤2.0

10~100

DN50(R3)

≤3.0

10~160

LWQ-65

DN65(R1)

≤2.0

10~100

不銹鋼

DN65(R2)

≤5.0

13~250

LWQ-80

DN80(R1)

≤3.5

8~160

不銹鋼

鋁合金

DN80(R2)

≤5.0

13~250

DN80(R3)

≤6.0

20~400

LWQ-100

DN100(R1)

≤5.0

13~250

1.6

 2.5

 4.0

不銹鋼

鋁合金

DN100(R2)

≤9.0

20~400

DN100(R3)

≤15.0

32~650

LWQ-125

DN125

≤15.0

40~800

不銹鋼

LWQ-150

DN150(R1)

≤10.0

32~650

DN150(R2)

≤14.0

50~1000

DN150(R3)

≤16.0

80~1600

LWQ-200

DN200(R1)

≤14.0

50~1000

 1.6

2.5

不銹鋼

DN200(R2)

≤20.0

80~1600

DN200(R3)

≤25.0

125~2500

(表1)

注:①表中所列的流量范圍為產品出廠檢定時的流量范圍(常溫、常壓下ρ=1.205kg/m3);

②隨著壓力的增大,流量范圍也隨之擴大;

③ R1、R2、R3分別代表同一口徑時較小、中等、較大的流量范圍;

④未特殊說明,產品均按1.5級出廠;

⑤其他流量范圍,請在訂貨時說明;

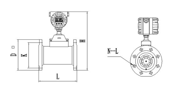
四、流量計的外形尺寸

流量計采用法蘭連接方式,法蘭尺寸執行化工部GB/T 20592-2009標準,流量計外形見組圖4,尺寸列于表2中(此表為PN1.6MPa時的法蘭尺寸)。

QQ圖片20161124173000

方形表頭1

(組圖4)

單位:mm 

 
 
Copyright.版權所有 (C) 2017 天津市海蘇儀表有限公司 All Right Reserved. 備案號:津ICP備18003452號-1
電話:022-87726162 手機:13116062622 聯系人:閆曉路 QQ:506009204 地址:天津市北辰區鐵東北路藍海汽配城二期G區7號 備案號:津ICP備18003452號-1 公安備案號:
友情鏈接:阿里店鋪   慧聰店鋪   鍍鋅卷板